NIOSH logo and tagline

Engineering Controls Database

Guidelines for the Control and Monitoring of Methane Gas on Continuous Mining Operations – Effect of Water Sprays on Face Airflow and Methane - Effect of Sprays on Methane Distributions

The introduction of conventional mining methods, which increased the rate of mining, was an important step in the mechanization of mining. The intermittent nature of the conventional mining process halted the extraction process for coal-loading and usually allowed time for methane gas to be dispersed. However, the introduction of continuous mining machines in the 1940s produced a constant flow of coal from the working face of the mine and resulted in an increase in methane levels.

The number of face ignitions increased as more continuous mining machines were placed underground. Methane levels were found to be dangerously high. In some cases, methane concentrations measured 20 ft from the mining face exceeded the lower explosive limit (5% by volume) [USBM 1958]. The need for better face area ventilation was recognized to reduce the potential for explosions.
Excessive levels of methane gas can affect the safety of the underground work force. Available methane control systems have been challenged in recent years by mining developments which include the use of continuous mining machines.

In the past 10 years, explosions have led to 65 fatalities and 18 injuries with major explosions occurring at the Sago Mine in West Virginia in 2006 (12 fatalities and 1 injury), the Darby No. 1 Mine in Kentucky in 2006 (5 fatalities and 1 injury) and, most recently, at the Upper Big Branch Mine in West Virginia in 2010 (29 fatalities) [NIOSH 2011]. The occurrence of a methane gas explosion puts the lives of the entire underground workforce at risk.
The U.S. Bureau of Mines (USBM) was formed in 1910 following a series of underground explosions that resulted in many fatalities and injuries [Kirk 1996]. The agency was responsible for conducting scientific research and disseminating information on the extraction, processing, use, and conservation of mineral resources. The USBM research program for mining health and safety was transferred to NIOSH in 1996. Since that time, NIOSH has established a ventilation test gallery where techniques for methane control and monitoring are evaluated under a variety of conditions that simulate airflow near the working face of a continuous mining section. Airflow patterns and methane concentrations are studied in a detailed manner that is not possible in a working underground mine.

Effect of Water Sprays Methane Distributions

Machine-mounted water spray systems are used primarily for dust control. The water delivered through the spray nozzles wets the coal and helps prevent suspension of dust. However, Kissell [1979] demonstrated that water sprays act as small fans and move air. This airflow helps dilute and remove methane from the face area. Water sprays can be grouped to direct airflow across the mining face. These “spray fan systems” are now installed on many mining machines. Research conducted in the ventilation test gallery examined how sprays installed on the mining machine affect airflow patterns and methane distributions in the face area [Chilton et al. 2006].

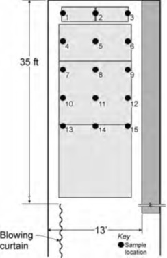
A series of tests were conducted to determine how water sprays affect methane concentrations above the mining machine in the area between the face and blowing curtain. Methane levels were measured at 15 locations above the mining machine (Figure 1), which was located at the center of the 13-ft wide entry. The sampling locations were 4 to 4½ ft from one another and 2 ft from the sides and face of the entry. Curtain setback was 35 ft. Intake flows were 4,000 and 6,000 ft3/min.
Figure - 1 - Methane sampling locations above mining machine (water spray tests).

Figure - 1 - Methane sampling locations above mining machine (water spray tests).


The distributions of the methane over the mining machine, with and without water sprays, are shown in Figures 2 and 3.

• Water from the sprays angled to the right (return airflow) side of the face reduced methane levels at most of the sampling locations.
• Use of straight sprays with the lower intake flow resulted in higher methane levels near the face.
Figure - 2 - Methane distribution, 4,000 ft3/min intake flow.

Figure - 2 - Methane distribution, 4,000 ft3/min intake flow.

Figure - 3 - Methane distribution, 6,000 ft3/min intake flow.

Figure - 3 - Methane distribution, 6,000 ft3/min intake flow.


As methane gas moves further from a mining face it is diluted by the intake air. At some distance from the face, intake air and methane will be mixed uniformly and no further dilution will occur. To illustrate this progressive dilution of gas, the average concentration for each horizontal row of three samples was averaged and plotted versus distance from the face (Figure 4). Separate graphs are drawn to show how the concentrations varied with intake flow, spray direction, and water pressure.
Figure - 4 - Effect of intake flow (A), nozzle direction (B), and water pressure (C) on concentration versus distance from face.

Figure - 4 - Effect of intake flow (A), nozzle direction (B), and water pressure (C) on concentration versus distance from face.


• Increasing intake airflow uniformly reduced methane levels as distance from the face increased (A).
• Angled sprays reduced methane levels more than straight sprays for distances up to 14 ft. Beyond 14 ft; the effect of spray type on methane dilution was negligible (Figure 4-B).
• Higher water pressure reduced methane levels but only at the face. At further distances, the water spray pressure had no effect on methane levels.

NOTE: The above control information is taken directly from the following publication:
NIOSH [2010]. Information circular 9523. Guidelines for the control and monitoring of methane gas in continuous mining operations. Morgantown, WV: U.S. Department of Health and Human Services, Centers for Disease Control and Prevention, National Institute for Occupational Safety and Health, DHHS (NIOSH) Publication No. 2010-141.
Chilton JE, Taylor CD, Hall EE, Timko RJ [2006]. Effect of water sprays on airflow movement and methane dilution at the working face. In: Mutmansky JM, Ramani RV, eds. 11th U.S./North American Mine Ventilation Symposium. Leiden, The Netherlands: Taylor & Francis/Balkema, pp. 401–406.

Kirk WS [1996]. The history of the Bureau of Mines. In: U.S. Bureau of Mines Minerals Yearbook, 1994. Washington, DC: U.S. Bureau of Mines.

Kissell FN [1979]. Improved face ventilation by spray jet systems. In: Proceedings of the Second Annual Mining Institute. Tuscaloosa, AL: University of Alabama.

NIOSH [2011]. Ventilation and explosion prevention highlights.
[http://www.cdc.gov/niosh/mining/highlights/programareahighlights16.html]

USBM [1958]. Auxiliary ventilation of continuous miner places. By Stahl RW. Washington, DC: U.S. Bureau of Mines, Report of Investigations, No. 5414.
coal mining
continuous mining operations
deep-cut mining
miners
• Directing water sprays toward the face improves methane dilution but may result in higher methane levels until there insufficient intake airflow to remove the gas from the face.
• Dilution of methane gas increases with distance from the face. Increasing water spray pressure improves dilution only within 5 ft of the face.
• Operation of water sprays does not increase the quantity of air reaching the face.